理解报表数据模型:事实
报告数据模型提供了以下事实。每个事实表仅提供对报告配置所允许的信息的访问。facts中将应用任何漏洞状态、严重性或类别过滤器,仅允许暴露范围内漏洞的结果、发现和计数。类似地,事实表中仅提供报表配置范围内的资产。默认情况下,所有事实都被解释为以资产为中心,因此会公开报告范围内所有资产的信息,无论这些资产是否配置为使用资产、扫描、资产组或站点选择的范围。
数据模型2.0.0公开了关于跨站点链接资产的信息。所有以前的信息仍然可用,并且格式相同。从数据模型2.0.0开始,在dim_asset维度中有一个sites列,列出了资产所属的站点。
对于每个事实,都提供了维度星型或雪花型模式。为了简洁和可读性,只详细说明雪花模式中的一层,并且只显示两层维。有关这些维度属性的更多信息,请参阅下面的dimensions部分。
当日期显示为事实的度量时,它们将始终被转换为与报表配置中指定的时区相匹配。
只有完全完成资产扫描的数据才包含在事实中。从中止或中断扫描的结果将不包括在内。
常规措施
请记住某些措施中出现的某些措施的某些特征有助于。
asset_compliance
此属性测量符合策略规则的资产与针对策略规则测试的资产总数的比率。
资产
此属性测量特定级别的资产数量。
合规资产
此属性度量符合策略规则的资产数量(考虑到策略规则覆盖)。
利用
此属性测量可用于利用每个资产上的漏洞进行攻击的不同攻击模块的数量。当谷物水平聚集多个资产时,总和是每个资产的开发价值之和。如果在资产上没有发现漏洞,或者没有漏洞可以通过漏洞攻击模块进行攻击,则计数将为零。
malware_kits
此属性度量可用于利用每个资产漏洞的不同恶意软件套件的数量。当粒级聚合多个资产时,总和为每个资产的恶意软件套件值的总和。如果在资产上没有发现漏洞,或者没有漏洞可以被恶意软件工具包利用,计数将为零。
noncompliant_assets
此属性度量不符合策略规则的资产数量(考虑到策略规则覆盖)。
不适用的资产
此属性测量不适用于策略规则的资产数量(考虑策略规则覆盖)
riskscore
该属性度量每个资产的风险评分,这是基于在该资产上发现的漏洞。当粮食水平聚集多个资产时,总是每个资产的风险评分值的总和。
rule_compliance
该属性用于度量符合或不适用的策略规则测试结果占规则测试结果总数的比例。
漏洞
此属性测量每个资产上发现的漏洞的数量。当谷物级别聚集多种资产时,总数是每个资产的漏洞的总和。
如果在同一资产上发现了多次漏洞,则每个资产只计算一次。如果在最近一次扫描中没有在任何资产上发现漏洞,或者如果扫描没有配置为执行漏洞检查(如在发现扫描的情况下),则该计数可能为零。
每个严重性级别也提供漏洞计数:
- 至关重要的:关键漏洞的数量。
- 严重的:严重漏洞的数量。
- 适度的:适中的漏洞数量。
漏洞利用
此属性度量所有资产上可以使用已发布的exploit模块利用的漏洞的总数。当粮食水平聚集多个资产时,总和是每个资产的漏洞利用值的总和。这个值保证小于漏洞的总数。如果不存在漏洞,或者没有漏洞受到攻击,则该值为零。
vulnerabilities_with_malware_kit
这个属性度量每个资产上可被恶意软件工具包利用的漏洞的数量。当粒度级别聚合多个资产时,总和为每个资产的vulnerties_with_malware_kit值的总和。这个值保证小于漏洞的总数。如果不存在漏洞,或者没有受到恶意软件工具包的影响,则该值为零。
vulnerability_instances
该属性度量在每个资产上发现的所有漏洞出现的数量。当粒度级别聚合多个资产时,总和是每个资产的vulnerable _instances值的总和。此值将计算每个资产上的每个漏洞实例。如果没有测试或发现有漏洞的实例(例如发现扫描),则此值可能为零。
带有时间戳数据类型的属性(例如first_discovered)将遵循报告配置中指定的时区。
fact_all
在1.1.0版本中添加
粮食水平:报告范围内所有资产的当前状况摘要。
事实类型:累积快照
描述:整个报告中最新漏洞细节的总结。这是一个累积快照事实,在对报表中的任何资产的每次扫描完成后都会更新。这一事实将包括报告范围内包含的每个资产的最新扫描数据。由于聚合级别是报告中的所有资产,因此事实表保证始终返回且仅返回一行。
柱
柱 |
数据类型 |
可空 |
描述 |
关联维度 |
|---|---|---|---|---|
漏洞 |
比基特 |
不 |
所有资产的漏洞数量。 |
|
critical_vulnerabilities |
比基特 |
不 |
跨所有资产的关键漏洞的数量。 |
|
severe_vulnerabilities |
比基特 |
不 |
所有资产中严重漏洞的数量。 |
|
moderate_vulnerabilities |
比基特 |
不 |
所有资产中中度漏洞的数量。 |
|
malware_kits |
整数 |
不 |
所有资产中恶意软件套件的数量。 |
|
利用 |
整数 |
不 |
跨所有资产的利用模块的数量。 |
|
vulnerabilities_with_malware_kit |
整数 |
不 |
所有资产中恶意软件套件的漏洞数量。 |
|
漏洞利用 |
整数 |
不 |
一个利用模块在所有资产上的漏洞数量。 |
|
vulnerability_instances |
比基特 |
不 |
跨所有资产的漏洞实例的数量。 |
|
riskscore |
双精度 |
不 |
所有资产的风险评分。 |
|
pci_status |
文本 |
不 |
PCI符合情况;要么及格,要么不及格。 |
维度模型
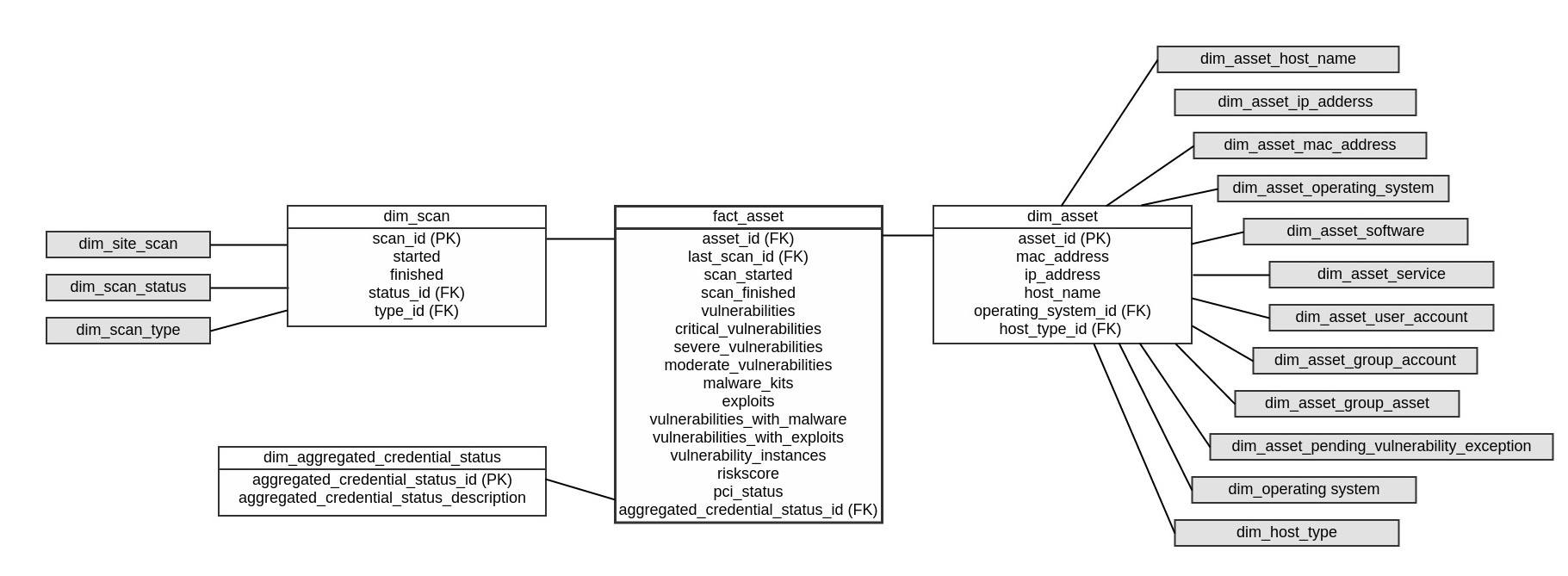
fact_asset
粮食水平:资产及其当前摘要信息。
事实类型:累积快照
描述:fact_asset事实表提供了报告范围内每个资产的最新信息。对于作用域中的每个资产,事实表中都有一条记录。
柱
柱 |
数据类型 |
可空 |
描述 |
关联维度 |
|---|---|---|---|---|
asset_id |
比基特 |
不 |
资产的标识符。 |
dim_asset |
last_scan_id |
比基特 |
不 |
包含被总结的最新信息的扫描标识符。 |
dim_scan |
scan_started |
带时区的时间戳 |
不 |
资产的最新扫描开始的日期和时间。 |
|
scan_finished |
带时区的时间戳 |
不 |
完成资产最近一次扫描的日期和时间。 |
|
漏洞 |
比基特 |
不 |
资产上所有明显漏洞的数量 |
|
critical_vulnerabilities |
比基特 |
不 |
资产上的关键漏洞的数量。 |
|
severe_vulnerabilities |
比基特 |
不 |
资产上严重漏洞的数量。 |
|
moderate_vulnerabilities |
比基特 |
不 |
资产上中度漏洞的数量。 |
|
malware_kits |
整数 |
不 |
与资产上发现的任何漏洞相关联的恶意软件套件的数量。 |
|
利用 |
整数 |
不 |
与资产上发现的任何漏洞相关的攻击次数。 |
|
vulnerabilities_with_malware_kit |
整数 |
不 |
在资产上发现了具有已知恶意软件套件的漏洞的数量。 |
|
漏洞利用 |
整数 |
不 |
在资产上发现的具有已知漏洞的数量。 |
|
vulnerability_instances |
比基特 |
不 |
在资产上发现的漏洞实例的数量 |
|
riskscore |
双精度 |
不 |
资产的风险分数。 |
|
pci_status |
文本 |
不 |
PCI符合情况;要么及格,要么不及格。 |
|
聚合\u凭证\u状态\u id |
整数 |
不 |
在给定扫描中,给定资产的所有可用服务的状态聚合。 |
dim\u聚合\u凭证\u状态 |
维度模型
fact_asset_date (startDate, endDate, dateInterval)
在1.1.0版本中添加
粮食水平:特定日期的资产及其摘要信息。
事实类型:周期性的快照
描述:此事实表按日期提供资产汇总值的定期快照。事实表有三个动态参数,用于细化返回的数据。从startDate开始,到endDate结束,对于每个dateInterval时间段,将返回报表范围内每个资产的汇总值。这将允许在可定制的时间间隔内对资产信息进行趋势分析。就图表而言,startDate表示范围内的最低值,endDate表示范围内的最大值,dateInterval表示范围轴上刻度的分离。如果一个资产在汇总日期之前不存在,那么它将没有该日期值的记录。资产的汇总值表示资产在汇总日期之前的最近扫描中的状态;因此,如果在下一个汇总时间间隔之前没有扫描资产,那么资产的值将保持不变。
例如,fact_asset_date(' 2013-01-01 ', ' 2014-01-01 ', INTERVAL ' 1 month ')将返回2013年每个月的每个资产的一行。
参数
柱 |
数据类型 |
描述 |
|---|---|---|
startDate可以 |
日期 |
第一次返回摘要的日期。 |
endDate |
日期 |
返回摘要的最后日期。 |
dateInterval |
时间间隔 |
返回摘要的开始日期和结束日期之间的时间间隔。 |
柱
柱 |
数据类型 |
可空 |
描述 |
关联维度 |
|---|---|---|---|---|
asset_id |
比基特 |
不 |
资产的标识符。 |
dim_asset |
last_scan_id |
比基特 |
不 |
包含被总结的最新信息的扫描标识符。 |
dim_scan |
scan_started |
带时区的时间戳 |
不 |
资产的最新扫描开始的日期和时间。 |
|
scan_finished |
带时区的时间戳 |
不 |
完成资产最近一次扫描的日期和时间。 |
|
漏洞 |
比基特 |
不 |
资产上所有明显漏洞的数量。 |
|
critical_vulnerabilities |
比基特 |
不 |
资产上的关键漏洞的数量。 |
|
severe_vulnerabilities |
比基特 |
不 |
资产上严重漏洞的数量。 |
|
moderate_vulnerabilities |
比基特 |
不 |
资产上中度漏洞的数量。 |
|
malware_kits |
整数 |
不 |
与资产上发现的任何漏洞相关联的恶意软件套件的数量。 |
|
利用 |
整数 |
不 |
与资产上发现的任何漏洞相关的攻击次数。 |
|
vulnerabilities_with_malware_kit |
整数 |
不 |
在资产上发现了具有已知恶意软件套件的漏洞的数量。 |
|
漏洞利用 |
整数 |
不 |
在资产上发现的具有已知漏洞的数量。 |
|
vulnerability_instances |
比基特 |
不 |
在资产上发现的漏洞实例的数量 |
|
riskscore |
双精度 |
不 |
资产的风险分数。 |
|
pci_status |
文本 |
不 |
PCI符合情况;要么及格,要么不及格。 |
|
一天 |
日期 |
不 |
资产汇总的日期。 |
维度模型
fact_asset_discovery
粮食水平:资产发现日期的快照。
事实类型:累积快照
描述:fact_asset_discovery事实表为报告范围内的每个资产提供一个累积快照,以及最先和最后发现资产时的详细信息。在扫描的发现阶段,发现日期被解释为在扫描期间首次与资产通信的精确时间。如果一个资产只被扫描一次,那么first_discovered和last_discovered的日期将是相同的。
柱
柱 |
数据类型 |
可空 |
描述 |
关联维度 |
|---|---|---|---|---|
asset_id |
big_int |
不 |
资产的标识符。 |
dim_asset |
first_discovered |
时间戳没有时区 |
不 |
在任何扫描期间首次发现资产的日期和时间。 |
|
last_discovered. |
时间戳没有时区 |
不 |
在任何扫描期间最后发现资产的日期和时间。 |
维度模型
fact_asset_group
粮食水平:资产组及其当前摘要信息。
事实类型:累积快照
描述:fact_asset_group事实表提供了报告范围内每个资产组的最新信息。报告范围内的任何资产当前都是该范围内的成员的每个资产组(不仅仅是在报告配置中指定的那些)都是可用的。报告范围内的每个资产组都将有一个事实记录。当对资产执行扫描时,事实表中的信息将积累资产组的最新信息(包括发现扫描)。
柱
柱 |
数据类型 |
可空 |
描述 |
关联维度 |
|---|---|---|---|---|
asset_group_id |
比基特 |
不 |
资产组的标识符。 |
dim_asset_group |
资产 |
比基特 |
不 |
与资产组关联的不同资产的数量。如果资产组不包含任何资产,则计数将为零。 |
|
漏洞 |
比基特 |
不 |
资产组中在资产上发现的所有漏洞的数量。 |
|
critical_vulnerabilities |
比基特 |
不 |
资产组中在资产上发现的所有关键漏洞的数量。 |
|
severe_vulnerabilities |
比基特 |
不 |
资产组中在资产上发现的所有严重漏洞的数量。 |
|
moderate_vulnerabilities |
比基特 |
不 |
资产组中在资产上发现的所有中等漏洞的数量。 |
|
malware_kits |
整数 |
不 |
在资产组中发现的与资产上的漏洞相关联的恶意软件工具包的数量。 |
|
利用 |
整数 |
不 |
与资产组中发现的资产上的漏洞相关联的exploit数量。 |
|
vulnerabilities_with_malware_kit |
整数 |
不 |
在资产组的资产上发现的已知恶意软件工具包的漏洞数量。 |
|
漏洞利用 |
整数 |
不 |
在资产组的资产上发现的具有已知漏洞的漏洞数量。 |
|
vulnerability_instances |
比基特 |
不 |
在资产组中的资产上发现的漏洞实例的数量。 |
|
riskscore |
双精度 |
不 |
资产组的风险评分。 |
|
pci_status |
文本 |
不 |
PCI符合情况;要么及格,要么不及格。 |
维度模型
事实资产组日期(开始日期、结束日期、日期间隔)
在1.1.0版本中添加
粮食水平:特定日期的资产组及其摘要信息。
事实类型:周期性的快照
描述:此事实数据表按日期提供资产组汇总值的定期快照。事实表包含三个动态参数,它们优化返回的数据。从startDate开始到endDate结束,每个dateInterval时间段都将返回报告范围内每个资产组的汇总值。这将允许按可定制的时间间隔对资产组信息进行趋势分析。对于图表而言,startDate表示范围内的最小值,endDate表示范围内的最大值,dateInterval表示范围轴刻度的间隔。如果资产组在汇总日期之前不存在,则该资产组将没有该日期值的记录。资产组的汇总值表示资产组在汇总日期之前的状态;因此,如果在下一个汇总间隔之前未扫描资产组中的资产,则资产组的值将保持不变。
例如,fact_asset_group_date(' 2013-01-01 ', ' 2014-01-01 ', INTERVAL ' 1 month ')将返回2013年每个月的每个资产组的一行。
参数
柱 |
数据类型 |
描述 |
|---|---|---|
startDate可以 |
日期 |
第一次返回摘要的日期。 |
endDate |
日期 |
返回摘要的最后日期。 |
dateInterval |
时间间隔 |
返回摘要的开始日期和结束日期之间的时间间隔。 |
柱
柱 |
数据类型 |
可空 |
描述 |
关联维度 |
|---|---|---|---|---|
group_id |
比基特 |
不 |
资产组的标识符。 |
dim_asset_group |
资产 |
比基特 |
不 |
与资产组关联的不同资产的数量。如果资产组不包含任何资产,则计数将为零。 |
|
漏洞 |
比基特 |
不 |
资产组中在资产上发现的所有漏洞的数量。 |
|
critical_vulnerabilities |
比基特 |
不 |
资产组中在资产上发现的所有关键漏洞的数量。 |
|
severe_vulnerabilities |
比基特 |
不 |
资产组中在资产上发现的所有严重漏洞的数量。 |
|
moderate_vulnerabilities |
比基特 |
不 |
资产组中在资产上发现的所有中等漏洞的数量。 |
|
malware_kits |
整数 |
不 |
在资产组中发现的与资产上的漏洞相关联的恶意软件工具包的数量。 |
|
利用 |
整数 |
不 |
与资产组中发现的资产上的漏洞相关联的exploit数量。 |
|
vulnerabilities_with_malware_kit |
整数 |
不 |
在资产组的资产上发现的已知恶意软件工具包的漏洞数量。 |
|
漏洞利用 |
整数 |
不 |
在资产组的资产上发现的具有已知漏洞的漏洞数量。 |
|
vulnerability_instances |
比基特 |
不 |
在资产组中的资产上发现的漏洞实例的数量。 |
|
riskscore |
双精度 |
不 |
资产组的风险评分。 |
|
pci_status |
文本 |
不 |
PCI符合情况;要么及格,要么不及格。 |
|
一天 |
日期 |
不 |
资产汇总的日期。 |
维度模型
fact_asset_group_policy_date
在1.3.0版本中添加
类型:周期性的快照
描述:此事实表按日期提供资产组上汇总的策略值的定期快照。事实表有三个动态参数,用于细化返回的数据。从startDate开始,到endDate结束,对于每个dateInterval时间段,将返回报表范围内每个资产组的汇总策略值。这将允许在可定制的时间间隔内对资产组信息进行趋势分析。就图表而言,startDate表示范围内的最低值,endDate表示范围内的最大值,dateInterval表示范围轴上刻度的分离。如果一个资产组在汇总日期之前不存在,那么它将没有该日期值的记录。资产组的汇总策略值表示资产组在被汇总日期之前的状态;因此,如果在下一个汇总时间间隔之前没有扫描资产组中的资产,那么资产组的值将保持不变。
参数
柱 |
数据类型 |
可空 |
描述 |
|---|---|---|---|
startDate可以 |
日期 |
不 |
第一次返回摘要的日期。 |
endDate |
日期 |
不 |
返回摘要的最后日期。 |
dateInterval |
时间间隔 |
不 |
返回摘要的开始日期和结束日期之间的时间间隔。 |
柱
柱 |
数据类型 |
可空 |
描述 |
关联维度 |
|---|---|---|---|---|
group_id |
比基特 |
是的 |
资产组的唯一标识符。 |
dim_asset |
一天 |
日期 |
不 |
汇总策略扫描结果快照的拍摄日期。 |
|
policy_id |
比基特 |
是的 |
范围内策略的唯一标识符。 |
dim_scan |
范围 |
文本 |
是的 |
策略范围的标识符。自动可用的策略具有“内置”的作用域,而用户创建的策略具有“自定义”的作用域。 |
dim_policy |
资产 |
整数 |
是的 |
报告范围内并与资产组关联的资产总数。 |
|
合规资产 |
整数 |
是的 |
与资产组关联且在通过至少一个策略规则测试时未失败的资产数。 |
|
noncompliant_assets |
整数 |
是的 |
与资产组关联且至少一次策略规则测试失败的资产数。 |
|
不适用的资产 |
整数 |
是的 |
与资产组相关联且至少没有通过一个策略规则测试的资产的数量。 |
|
rule_compliance |
数字 |
是的 |
规则测试结果符合或不符合规则测试结果占规则测试结果总数的比例。 |
事实与资产政策
在1.2.0版本中添加
粮食水平:一项资产的政策结果
事实类型:累积快照
描述:该表提供资产上策略测试结果的累积快照。它会为资产最近一次扫描中测试的每个策略显示一条记录。只包括在报告范围内扫描的保单。
柱
柱 |
数据类型 |
可空 |
描述 |
关联维度 |
|---|---|---|---|---|
asset_id |
比基特 |
不 |
资产的标识符 |
dim_asset |
last_scan_id |
比基特 |
不 |
扫描的标识符 |
dim_scan |
policy_id |
比基特 |
不 |
策略的标识符 |
dim_policy |
范围 |
文本 |
不 |
策略范围的标识符。自动可用的策略具有“内置”的作用域,而用户创建的策略具有“自定义”的作用域。 |
|
date_tested |
无时区时间戳 |
在报告配置中指定的时区中,对策略测试的资产进行扫描的结束日期和时间。 |
||
compliant_rules |
比基特 |
所有资产都符合最近一次扫描的每个策略规则的总数。 |
||
noncompliant_rules |
比基特 |
在最近一次扫描中至少有一个资产失败的每个策略规则的总数。 |
||
not_applicable_rules |
比基特 |
在最近一次扫描中不适用于资产的每个策略规则的总数。 |
||
rule_compliance |
数字 |
符合或不适用的策略规则测试结果与规则测试结果总数的比率。 |
维度模型
事实\资产\政策\日期
在1.3.0版本中添加
类型:周期性的快照
描述:此事实表按日期提供资产上汇总的策略值的定期快照。事实表有三个动态参数,用于细化返回的数据。从startDate开始,到endDate结束,对于每个dateInterval时间段,将返回报表范围内每个资产的汇总策略值。这将允许在可定制的时间间隔内对资产信息进行趋势分析。就图表而言,startDate表示范围内的最低值,endDate表示范围内的最大值,dateInterval表示范围轴上刻度的分离。如果一个资产在汇总日期之前不存在,那么它将没有该日期值的记录。资产的汇总保险单值表示该资产在汇总日期之前的状态;因此,如果在下一个汇总时间间隔之前没有扫描资产组中的资产,则该资产的值将保持不变。
参数
柱 |
数据类型 |
可空 |
描述 |
|---|---|---|---|
startDate可以 |
日期 |
不 |
第一次返回摘要的日期。 |
endDate |
日期 |
不 |
返回摘要的最后日期。 |
dateInterval |
时间间隔 |
不 |
返回摘要的开始日期和结束日期之间的时间间隔。 |
柱
柱 |
数据类型 |
可空 |
描述 |
关联维度 |
|---|---|---|---|---|
asset_id |
比基特 |
是的 |
资产的唯一标识符。 |
dim_asset |
一天 |
日期 |
不 |
汇总策略扫描结果快照的拍摄日期。 |
|
扫描标识 |
比基特 |
是的 |
扫描的唯一标识符。 |
dim_scan |
policy_id |
比基特 |
是的 |
范围内策略的唯一标识符。 |
dim_policy |
范围 |
文本 |
是的 |
策略范围的标识符。自动可用的策略具有“内置”的作用域,而用户创建的策略具有“自定义”的作用域。 |
|
date_tested |
时间戳没有时区 |
是的 |
使用策略规则测试资产的时间。 |
|
compliant_rules |
整数 |
是的 |
扫描中所有资产符合的规则数量。 |
|
noncompliant_rules |
整数 |
是的 |
至少有一个资产在扫描中失败的规则数。 |
|
not_applicable_rules |
整数 |
是的 |
不适用于资产的规则数。 |
|
rule_compliance |
数字 |
是的 |
规则测试结果符合或不适用的规则测试结果占规则测试结果总数的比例。 |
事实、资产、政策、规则
在1.3.0版本中添加,在2.0.0版本中更新
粮食水平:资产上的策略规则结果
事实类型:累积快照
描述:该表提供报表范围内资产的最新策略扫描的规则结果。对于每个规则,只计算受该规则约束且在最近扫描中有结果的资产。
柱
| 柱 | 数据类型 | 可空 | 描述 | 关联维度 |
|---|---|---|---|---|
| asset_id | 比基特 | 不 | 资产的标识符。 | dim_asset |
| policy_id | 比基特 | 不 | 策略的标识符。 | dim_policy |
| 范围 | 文本 | 不 | 策略范围的标识符。自动可用的策略具有“内置”的作用域,而用户创建的策略具有“自定义”的作用域。 | |
| rule_id | 比基特 | 不 | 策略规则的标识符。 | dim\u策略\u规则 |
| date_tested | 无时区时间戳 | 在报告配置中指定的时区中,对策略测试的资产进行扫描的结束日期和时间。 | ||
| status_id. | 人物(1) | 不 | 在资产上查找策略规则的状态标识符(考虑到策略规则覆盖)。 | dim_policy_rule_status |
| 顺从 | 布尔值 | 不 | 资产是否符合规则。当且仅当此规则的所有策略检查没有失败,或者该规则在资产上被值True覆盖时为True。 | |
| 证明 | 文本 | 是的 | 保单的证明对资产进行检查。 | |
| override_id | 比基特 | 是的 | 应用于资产规则的策略规则覆盖的唯一标识符。如果多个覆盖应用于不同范围级别的规则,则返回对规则具有真实影响的覆盖标识符(最新覆盖)。 | dim_policy_rule_override |
| override_ids. | 长整型数字[] | 是的 | 应用于资产规则的策略规则覆盖的唯一标识符。如果多个覆盖应用于不同范围级别的规则,则每个覆盖的标识符将以逗号分隔的列表返回。 | dim_policy_rule_override |
维度模型
fact_asset_scan
粮食水平:资产已完成扫描的摘要。
事实类型:事务
描述:fact_asset_scan事务事实提供了资产扫描结果的汇总信息。一个事实记录将出现在每一个资产和扫描,其中资产被完全扫描。只有在报告范围内配置的资产和在报告中过滤的漏洞才会参与累计总数。如果在扫描期间没有执行漏洞检查,例如作为发现扫描的结果,漏洞相关计数将为零。
柱
柱 |
数据类型 |
可空 |
描述 |
关联维度 |
|---|---|---|---|---|
扫描标识 |
比基特 |
不 |
扫描的标识符。 |
dim_scan |
asset_id |
比基特 |
不 |
资产的标识符。 |
dim_asset |
scan_started |
时间戳没有时区 |
不 |
启动资产扫描的时间。 |
|
scan_finished |
时间戳没有时区 |
不 |
资产扫描完成的时间。 |
|
漏洞 |
比基特 |
不 |
在扫描过程中在资产上发现的漏洞数量。 |
|
critical_vulnerabilities |
比基特 |
不 |
扫描期间在资产上发现的关键漏洞数。 |
|
severe_vulnerabilities |
比基特 |
不 |
在扫描期间在资产上发现的严重漏洞的数量。 |
|
moderate_vulnerabilities |
比基特 |
不 |
在扫描期间在资产上发现的中等漏洞的数量。 |
|
malware_kits |
整数 |
不 |
与扫描过程中发现的漏洞相关的恶意软件工具包的数量。 |
|
利用 |
整数 |
不 |
与扫描过程中发现的漏洞相关的exploit数量。 |
|
vulnerabilities_with_malware_kit |
整数 |
不 |
在扫描过程中发现的已知恶意软件套件的漏洞数量。 |
|
漏洞利用 |
整数 |
不 |
在扫描过程中发现的具有已知漏洞的漏洞数量。 |
|
vulnerability_instances |
比基特 |
不 |
在扫描期间发现的漏洞实例的数量。 |
|
riskscore |
双精度 |
不 |
扫描的风险评分。 |
|
pci_status |
文本 |
不 |
PCI符合情况;要么及格,要么不及格。 |
|
聚合\u凭证\u状态\u id |
整数 |
不 |
在给定扫描中,给定资产的所有可用服务的状态聚合。 |
dim\u聚合\u凭证\u状态 |
维度模型
fact_asset_scan_operating_system
粮食水平:扫描中资产上的操作系统指纹。
事实类型:事务
描述:事实\u资产\u操作\u系统事实表提供扫描中资产上的操作系统指纹。操作系统指纹表示扫描过程中收集的所有潜在指纹,可选择为资产上的主要或最佳操作系统指纹。如果资产在扫描过程中未采集指纹,它将有一个值指示未知指纹的记录。
柱
柱 |
数据类型 |
可空 |
描述 |
关联维度 |
|---|---|---|---|---|
asset_id |
比基特 |
不 |
操作系统关联的资产的标识符。 |
dim_asset |
扫描标识 |
比基特 |
不 |
资产被指纹的扫描标识符。 |
dim_scan |
operating_system_id |
比基特 |
不 |
在扫描中的资产上指纹的操作系统的标识符。如果找不到指纹,则该值将为-1。 |
dim_operating_system |
指纹源id |
整数 |
不 |
用于获取指纹的源的标识符。如果找不到指纹,则该值将为-1。 |
dim_fingerrint_source. |
确定 |
真实的 |
不 |
一个介于0和1之间的值,表示指纹的置信水平。如果未找到指纹,则该值将为0。 |
维度模型
fact_asset_scan_policy
1.2.0版可用
粮食水平:扫描中某个资产的策略结果
事实类型:事务
描述:该表提供了资产扫描过程中策略测试结果的详细信息。每条记录为特定扫描的资产提供策略测试结果。只包括报告范围内的政策。
柱
从1.3.0版本开始,passed_rules和failed_rules现在被称为compliant_rules和noncompliant_rules。
柱 |
数据类型 |
可空 |
描述 |
关联维度 |
|---|---|---|---|---|
asset_id |
比基特 |
不 |
资产的标识符 |
dim_asset |
扫描标识 |
比基特 |
不 |
扫描的标识符 |
dim_scan |
policy_id |
比基特 |
不 |
策略的标识符 |
dim_policy |
范围 |
文本 |
不 |
策略范围的标识符。自动可用的策略具有“内置”的作用域,而用户创建的策略具有“自定义”的作用域。 |
|
date_tested |
无时区时间戳 |
在报告配置中指定的时区中,对策略测试的资产进行扫描的结束日期和时间。 |
||
compliant_rules |
比基特 |
资产在最近扫描中为其传递的每个策略规则的总数。 |
||
noncompliant_rules |
比基特 |
资产在最近扫描中失败的每个策略规则的总数。 |
||
not_applicable_rules |
比基特 |
在最近一次扫描中不适用于资产的每个策略规则的总数。 |
||
rule_compliance |
数字 |
符合或不适用的策略规则测试结果与规则测试结果总数的比率。 |
维度模型
fact_asset_scan_software
粮食水平:资产扫描时已安装软件的指纹。
事实类型:事务
描述:fact_asset_scan_software事实表提供资产扫描期间枚举或检测到的已安装软件包。如果一个资产在扫描中没有枚举的软件包,那么在这个事实中就没有记录。
柱
柱 |
数据类型 |
可空 |
描述 |
关联维度 |
|---|---|---|---|---|
asset_id |
比基特 |
不 |
资产的标识符 |
dim_asset |
扫描标识 |
比基特 |
不 |
扫描的标识符 |
dim_scan |
software_id |
比基特 |
不 |
已提取指纹的软件的标识符。 |
dim_software |
指纹源id |
比基特 |
不 |
用于对软件进行指纹识别的源的标识符。 |
dim_fingerrint_source. |
维度模型
fact_asset_scan_service
粮食水平:在扫描中在资产上检测到的服务。
事实类型:事务
描述:事实\u资产\u扫描\u服务事实表提供在资产扫描期间检测到的服务。如果资产在扫描中没有枚举任何服务,则此事实中不会有任何记录。
柱
柱 |
数据类型 |
可空 |
描述 |
关联维度 |
|---|---|---|---|---|
asset_id |
比基特 |
不 |
资产的标识符。 |
dim_asset |
扫描标识 |
比基特 |
不 |
扫描的标识符。 |
dim_scan |
日期 |
时间戳没有时区 |
不 |
服务被枚举的日期和时间。 |
|
service_id |
整数 |
不 |
服务的标识符。 |
dim_service |
protocol_id |
短整型 |
不 |
该服务的协议的标识符利用。 |
dim_协议 |
港口 |
整数 |
不 |
正在运行服务的端口。 |
|
service_fingerprint_id |
比基特 |
不 |
描述该服务配置的服务指纹标识。 |
dim_service_fingerprint |
凭证\u状态\u id |
短整型 |
不 |
每项服务每次扫描每个资产的用户提供的凭据。评估凭据状态的服务是:SNMP,SSH,TELNET和CIFS。 |
dim_credential_status |
维度模型
fact_asset_scan_vulnerability_finding.
在1.1.0版本中添加
粮食水平:在扫描中发现资产上的漏洞。
事实类型:事务
描述:这个事实表提供了资产每次扫描时资产上所有漏洞发现的累积快照。该表将显示在资产的每次扫描中在每个资产上发现的每个唯一漏洞的记录。如果在资源上发现多次出现相同的漏洞,它们将被卷到一个vulnerable _instances计数大于1的单行中。只显示未应用活动异常的漏洞。
维度模型
fact_asset_scan_vulnerability_instance
在1.1.0版本中添加
粮食水平:扫描时资产上的漏洞实例。
事实类型:事务
描述:> fact_asset_scan_vulnerity_instance事实表提供了在资产扫描过程中发现的漏洞实例的详细信息。只有被发现是易受攻击且没有主动应用例外的漏洞实例才会出现在事实表中。漏洞实例是在资产上发现的唯一漏洞结果。如果在资产上找到相同漏洞的多个出现,则每个实例将存在一行。
柱
柱 |
数据类型 |
可空 |
描述 |
关联维度 |
|---|---|---|---|---|
asset_id |
比基特 |
不 |
资产的标识符 |
dim_asset |
扫描标识 |
比基特 |
不 |
扫描的标识符。 |
dim_scan |
vulnerability_id |
整数 |
不 |
查找所针对的漏洞的标识符。 |
dim_vulnerability |
日期 |
时间戳没有时区 |
不 |
检测到漏洞发现的日期和时间。这个时间是资产在扫描期间完成扫描的时间。 |
|
status_id. |
人物(1) |
不 |
漏洞发现状态的标识符,指示发现的可信度。 |
dim_vulnerability_status |
证明 |
文本 |
不 |
说明漏洞存在原因的证明。证明是在格式化标记中公开的,可以使用函数对标记进行条带化校对文本 |
|
关键 |
文本 |
是的 |
漏洞发现的次要标识符,用于区分相同资产上相同漏洞的类似结果与结果。此值是可选的,当漏洞不需要辅助鉴别器时,该值将为空。 |
|
service_id |
整数 |
不 |
发现漏洞的服务,如果漏洞没有与服务关联,则为-1。 |
dim_service |
港口 |
整数 |
不 |
漏洞服务运行的端口,如果漏洞没有与服务关联,则为-1 |
|
protocol_id |
整数 |
不 |
易受攻击的服务正在运行的协议,如果该漏洞未与服务关联,则为-1。 |
dim_协议 |
维度模型
fact_asset_scan_vulnerability_instance_excluded
在1.1.0版本中添加
粮食水平:在应用了主动漏洞例外的扫描中资产上的漏洞实例。
事实类型:事务
描述:fiff_asset_scan_vulnerability_instance_excluded事实表提供了在具有应用异常的资产扫描期间发现的漏洞实例的详细信息。只有发现易受攻击的漏洞实例才能积极应用的例外情况将存在于事实表中。如果在资产上找到相同漏洞的多个出现,则每个实例将存在一行。
柱
柱 |
数据类型 |
可空 |
描述 |
关联维度 |
|---|---|---|---|---|
asset_id |
比基特 |
不 |
资产的标识符。 |
dim_asset |
扫描标识 |
比基特 |
不 |
扫描的标识符。 |
dim_scan |
vulnerability_id |
整数 |
不 |
漏洞的标识符。 |
dim_vulnerability |
日期 |
时间戳没有时区 |
不 |
检测到漏洞发现的日期和时间。这个时间是资产在扫描期间完成扫描的时间。 |
|
status_id. |
人物(1) |
不 |
漏洞发现状态的标识符,指示发现的可信度。 |
dim_vulnerability_status |
证明 |
文本 |
不 |
说明漏洞存在原因的证明。证明是在格式化标记中公开的,可以使用函数对标记进行条带化 |
|
关键 |
文本 |
是的 |
漏洞发现的次要标识符,用于区分相同资产上相同漏洞的类似结果与结果。此值是可选的,当漏洞不需要辅助鉴别器时,该值将为空。 |
|
service_id |
整数 |
不 |
发现漏洞的服务,如果漏洞没有与服务关联,则为-1。 |
dim_service |
港口 |
整数 |
不 |
漏洞服务运行的端口,如果漏洞没有与服务关联,则为-1。 |
|
protocol_id |
整数 |
不 |
易受攻击的服务正在运行的协议,如果该漏洞未与服务关联,则为-1。 |
dim_协议 |
维度模型
fact_asset_vulnerability_age
在版本1.2.0中添加
粮食水平:资产上的漏洞。
事实类型:累积快照
描述:此事实表为漏洞年龄提供了累积快照和资产的发生信息。对于资产目前脆弱的每个漏洞,将有一个事实记录。记录指示何时找到漏洞,最后找到,以及其当前年龄。该年龄被计算为漏洞首次在资产上发现的时间和当前时间之间的差异。如果漏洞暂时修复,但重新发现,年龄将来自第一个发现时间。如果在服务中找到漏洞,则在另一个服务中进行修复和发现,则仍然在第一次在资产上的任何服务中找到漏洞时计算的年龄。
柱
柱 |
数据类型 |
可空 |
Desription |
关联维度 |
|---|---|---|---|---|
asset_id |
比基特 |
不 |
资产的唯一标识符。 |
dim_asset |
vulnerability_id |
整数 |
不 |
漏洞的唯一标识符。 |
dim_vulnerability |
年龄 |
时间间隔 |
不 |
资产上漏洞的时间间隔格式。 |
|
age_in_days. |
数字 |
不 |
资产上漏洞的存在时间,以天为单位指定。 |
|
first_discovered |
无时区时间戳 |
不 |
漏洞最初在资产上发现的日期。 |
|
most_recently_discovered |
无时区时间戳 |
不 |
资产上最近发现漏洞的日期。 |
fact_asset_vulnerability_finding
在版本1.2.0中添加
粮食水平:在资产上发现的漏洞。
事实类型:累积快照
描述:这个事实表提供了资产上所有当前漏洞发现的累积快照。该表将显示在资产最近扫描中发现的每个资产上的每个唯一漏洞的记录。如果在资源上发现多次出现相同的漏洞,它们将被卷到一个vulnerable _instances计数大于1的单行中。只显示未应用活动异常的漏洞。
柱
柱 |
数据类型 |
可空 |
描述 |
关联维度 |
|---|---|---|---|---|
asset_id |
比基特 |
不 |
资产的标识符。 |
dim_asset |
扫描标识 |
比基特 |
不 |
检测到漏洞的资产的最后一次扫描的标识符。 |
dim_scan |
vulnerability_id |
整数 |
不 |
漏洞的标识符。 |
dim_vulnerability |
vulnerability_instances |
比基特 |
不 |
资产上检测到的漏洞的出现次数,保证大于或等于一个。 |
|
vulnerability_instances |
比基特 |
不 |
资产上检测到的漏洞的出现次数,保证大于或等于一个。 |
维度模型
事实\资产\漏洞\实例
粮食水平:资产上的漏洞实例。
事实类型:累积快照
描述:该表提供资产上所有当前漏洞实例的累积快照。只有发现有漏洞且没有主动应用例外的漏洞实例才会出现在事实表中。如果在资产上发现多次出现相同的漏洞,将为每个实例显示一行。
柱
柱 |
数据类型 |
可空 |
描述 |
关联维度 |
|---|---|---|---|---|
asset_id |
比基特 |
不 |
资产的标识符。 |
dim_asset |
扫描标识 |
比基特 |
不 |
中发现扫描漏洞实例的标识符。 |
dim_scan |
vulnerability_id |
整数 |
不 |
漏洞的标识符。 |
dim_vulnerability |
vulnerability_exception_id |
整数 |
是的 |
漏洞实例挂起的漏洞异常的唯一标识符。如果漏洞实例没有挂起的异常,该值将为空。如果多个挂起的异常应用于不同范围级别的漏洞,则返回最低级别(最细粒度)异常的标识符。 |
dim_vulnerability_exception |
vulnerability_exception_ids |
文本 |
是的 |
漏洞实例挂起的所有漏洞异常的唯一标识符。如果漏洞实例没有挂起的异常,该值将为空。如果在不同的范围级别上有多个挂起的异常应用于漏洞,那么所有异常的标识符将以逗号分隔的值字符串返回。 |
dim_vulnerability_exception |
日期 |
时间戳没有时区 |
不 |
检测到漏洞发现的日期和时间。这个时间是资产在扫描期间完成扫描的时间。 |
|
status_id. |
人物(1) |
不 |
漏洞发现状态的标识符,指示发现的可信度。 |
dim_vulnerability_status |
证明 |
文本 |
不 |
说明漏洞存在原因的证明。证明是在格式化标记中公开的,可以使用函数对标记进行条带化校对文本 |
|
关键 |
文本 |
是的 |
漏洞发现的次要标识符,用于区分相同资产上相同漏洞的类似结果与结果。此值是可选的,当漏洞不需要辅助鉴别器时,该值将为空。 |
|
service_id |
整数 |
不 |
发现漏洞的服务,如果漏洞没有与服务关联,则为-1。 |
dim_service |
港口 |
整数 |
不 |
漏洞服务运行的端口,如果漏洞没有与服务关联,则为-1。 |
|
protocol_id |
整数 |
不 |
易受攻击的服务正在运行的协议,如果该漏洞未与服务关联,则为-1。 |
dim_协议 |
维度模型
事实\u资产\u漏洞\u实例\u排除
粮食水平:应用了活动漏洞异常的资产上的漏洞实例。
事实类型:累积快照
描述:fact_asset_vunerability_instance_excluded事实表为资产上的所有当前漏洞实例提供一个累积快照。如果在资产上发现多次出现相同的漏洞,将为每个实例显示一行。
柱
柱 |
数据类型 |
可空 |
描述 |
关联维度 |
|---|---|---|---|---|
asset_id |
比基特 |
不 |
资产的标识符。 |
dim_asset |
vulnerability_id |
整数 |
不 |
漏洞的标识符。 |
dim_vulnerability |
date_tested |
时间戳没有时区 |
不 |
检测到漏洞发现的日期和时间。这个时间是资产在扫描期间完成扫描的时间。 |
|
status_id. |
人物(1) |
不 |
漏洞发现状态的标识符,指示发现的可信度。 |
dim_vulnerability_status |
证明 |
文本 |
不 |
说明漏洞存在原因的证明。证明是在格式化标记中公开的,可以使用函数对标记进行条带化校对文本 |
|
关键 |
文本 |
是的 |
漏洞发现的次要标识符,用于区分相同资产上相同漏洞的类似结果与结果。此值是可选的,当漏洞不需要辅助鉴别器时,该值将为空。 |
|
service_id |
整数 |
不 |
发现漏洞的服务,如果漏洞没有与服务关联,则为-1。 |
dim_service |
港口 |
整数 |
不 |
漏洞服务运行的端口,如果漏洞没有与服务关联,则为-1。 |
|
protocol_id |
整数 |
不 |
易受攻击的服务正在运行的协议,如果该漏洞未与服务关联,则为-1。 |
dim_协议 |
维度模型
fact_pci_asset_scan_service_finding
在1.3.2版本中添加
粮食水平:在扫描中查找资产上的服务。
事实类型:交易
描述:fact_pci_asset_scan_service_finding表是服务在资产上查找用于扫描的事务事实。这一事实为报告范围内的每个资产上的每个服务提供了记录,每次扫描都包含在其中。粒度级别是一个独特的服务发现。如果在扫描中没有在资产上找到服务,则在这个事实表中没有记录。对于PCI目的,每个服务查找都映射到一个漏洞。对其版本进行指纹识别的服务会映射到一个额外的漏洞。
柱
柱 |
数据类型 |
可空 |
描述 |
关联维度 |
|---|---|---|---|---|
asset_id |
比基特 |
不 |
资产的唯一标识符。 |
dim_asset |
扫描标识 |
比基特 |
不 |
找到服务的扫描的唯一标识符。 |
dim_scan |
service_id |
整数 |
不 |
服务定义的标识符。 |
dim_service |
vulnerability_id |
整数 |
不 |
漏洞的唯一标识符。 |
dim_vulnerability |
protocol_id |
短整型 |
不 |
该服务的协议的标识符利用。 |
dim_协议 |
港口 |
整数 |
不 |
正在运行服务的端口。 |
fact_pci_asset_service_finding
在1.3.2版本中添加
粮食水平:从资产的最新扫描中查找资产上的服务。
事实类型:积累快照
描述:fact_pci_asset_service_finding事实表为每个资产最近一次扫描的所有服务发现提供一个累积快照事实。粒度级别是一个独特的服务发现。如果在扫描中没有在资产上找到服务,则在这个事实表中没有记录。对于PCI目的,每个服务查找都映射到一个漏洞。对其版本进行指纹识别的服务会映射到一个额外的漏洞。
柱
柱 |
数据类型 |
可空 |
描述 |
关联维度 |
|---|---|---|---|---|
asset_id |
比基特 |
不 |
资产的唯一标识符。 |
dim_asset |
扫描标识 |
比基特 |
不 |
找到服务的扫描的唯一标识符。 |
dim_scan |
service_id |
整数 |
不 |
服务定义的标识符。 |
dim_service |
vulnerability_id |
整数 |
不 |
漏洞的唯一标识符。 |
dim_vulnerability |
protocol_id |
短整型 |
不 |
该服务的协议的标识符利用。 |
dim_协议 |
港口 |
整数 |
不 |
正在运行服务的端口。 |
事实\u pci\u资产\u特别注意事项
在1.3.2版本中添加
粮食水平:从资产的最新扫描中发现的关于资产(加上端口和协议,如果适用)上的漏洞或服务的说明。
事实类型:积累快照
描述:fact_pci_asset_special_note事实表为所有漏洞或服务发现提供了一个累积快照事实,并为每个资产的最新扫描应用了特殊注释。粒度级别是一个独特的漏洞或服务发现,由资产、端口和协议确定。
柱
柱 |
数据类型 |
可空 |
描述 |
关联维度 |
|---|---|---|---|---|
asset_id |
比基特 |
不 |
资产的唯一标识符。 |
dim_asset |
扫描标识 |
比基特 |
不 |
扫描的唯一标识符。 |
dim_scan |
service_id |
整数 |
不 |
服务定义的标识符。 |
dim_service |
protocol_id |
短整型 |
不 |
该服务的协议的标识符利用。 |
dim_协议 |
港口 |
整数 |
不 |
正在运行服务的端口。 |
|
pci\u注释\u id |
整数 |
不 |
应用于漏洞或服务查找的pci特别说明的唯一标识符。 |
dim_pci_note |
注意事项 |
文本 |
不 |
针对给定资产、端口和协议的发现的不同标识符的列表。 |
fact_policy.
在1.2.0版本中添加
粮食水平:与一项政策有关的调查结果的总结。
事实类型:累积快照
描述:该表提供了对报告范围内资产的最新策略扫描结果的摘要。对于每个策略,只计算受该策略规则约束且在最近扫描中有结果且没有覆盖的资产。
柱
从1.3.0版本开始,已经为not_applicable_assets创建了一个单独的值,并且不再包含在compliant_assets中。
柱 |
数据类型 |
可空 |
描述 |
关联维度 |
|---|---|---|---|---|
policy_id |
比基特 |
不 |
策略的标识符。 |
dim_policy |
范围 |
文本 |
不 |
策略范围的标识符。自动可用的策略具有“内置”的作用域,而用户创建的策略具有“自定义”的作用域。 |
|
rule_compliance |
数字 |
不 |
符合或不适用的策略规则测试结果与规则测试结果总数的比率。 |
|
total_assets |
比基特 |
不 |
在报告范围内为策略测试的资产数量。 |
|
合规资产 |
比基特 |
不 |
在上次测试中,没有失败但至少通过了策略中的一条规则的资产数量。 |
|
non_compliant_assets. |
比基特 |
不 |
上次测试中策略中至少有一条规则失败的资产数。 |
|
不适用的资产 |
比基特 |
不 |
在上次测试中,在策略中没有通过或没有通过至少一条规则的资产的数量。 |
|
asset_compliance |
数字 |
不 |
符合策略的资产与为策略测试的资产总数的比率。 |
维度模型
fact_policy_group
在1.3.0版本中添加
粮食水平:与政策组相关的调查结果摘要。
事实类型:累积快照
描述:该表提供了对报告范围内资产的最新策略扫描的组规则结果的摘要。所有直接或间接从它派生出来的规则都被计算在内。
柱
柱 |
数据类型 |
可空 |
描述 |
关联维度 |
|---|---|---|---|---|
范围 |
文本 |
不 |
策略范围的标识符。自动可用的策略具有“内置”的作用域,而用户创建的策略具有“自定义”的作用域。 |
|
policy_id |
比基特 |
不 |
策略的标识符。 |
dim_policy |
group_id |
比基特 |
不 |
策略组的标识。 |
dim_policy_group |
不符合规则 |
整数 |
不 |
不具有100%资产遵从性的规则数量(考虑到策略规则覆盖)。 |
|
compliant_rules |
整数 |
不 |
具有100%资产遵从性的规则数量(考虑到策略规则覆盖)。 |
|
rule_compliance |
数字 |
符合事实的 |
符合或不适用规则测试结果占策略组内规则测试结果总数的比例。如果组没有规则或没有可测试的规则(没有检查的规则,因此不存在结果),则会有一个空值。 |
维度模型
fact_policy_rule
在1.3.0版本中添加
粮食水平:与策略规则相关的发现摘要。
事实类型:累积快照
描述:该表提供了对报告范围内资产的最新策略扫描的规则结果的摘要。对于每个规则,只计算受该规则约束且在最近扫描中有结果的资产。
柱
柱 |
数据类型 |
可空 |
描述 |
关联维度 |
|---|---|---|---|---|
范围 |
文本 |
不 |
策略范围的标识符。自动可用的策略具有“内置”的作用域,而用户创建的策略具有“自定义”的作用域。 |
|
policy_id |
比基特 |
不 |
策略的标识符。 |
dim_policy |
rule_id |
比基特 |
不 |
策略规则的标识符。 |
dim\u策略\u规则 |
合规资产 |
整数 |
不 |
符合规则的资产数量(考虑到策略规则覆盖)。 |
|
noncompliant_assets |
整数 |
不 |
不符合规则的资产数量(考虑到策略规则覆盖)。 |
|
not_applicable_asset |
整数 |
不 |
不适用于规则的资产数量(考虑到策略规则覆盖)。 |
|
asset_compliance |
数字 |
不 |
符合策略规则的资产与为策略规则测试的资产总数的比率。 |
维度模型
fiff_remediation(count,sort_column)
在1.1.0版本中添加
粮食水平:具有最高替代级别的解决方案以及应用该解决方案将对报告的范围产生的影响。
事实类型:累积快照
描述:一个函数,它返回一组顶级“计数”解决方案的结果集,显示排序条件指定的影响。这些标准可用于找到对报告范围有理想影响的解决方案,并可限于所有解决方案的子集。计算应用每个解决方案的聚合效果,并返回每个记录。只选择最高级别的替代方案,换句话说,只选择没有替代方案的方案。
参数
柱 |
数据类型 |
描述 |
|---|---|---|
计数 |
整数 |
将函数的输出限制为的解的个数。排序和聚合在限制之前执行。 |
sort_column |
文本 |
用于对结果进行排序的列的名称和排序顺序。在限制结果之前,可以使用事实中的任何列对结果进行排序。可以使用传统的SQL片段对多个列进行排序(例如:'assets DESC, exploit DESC')。 |
柱
柱 |
数据类型 |
可空 |
描述 |
关联维度 |
|---|---|---|---|---|
solution_id |
整数 |
不 |
解决方案的标识符。 |
|
资产 |
比基特 |
不 |
需要应用解决方案的资产数量。如果解决方案适用于任何资产上未检测到的漏洞,则该值可能为零。 |
|
漏洞 |
数字 |
不 |
需要补救的漏洞总数。 |
|
critical_vulnerabilities |
数字 |
不 |
要修复的关键漏洞总数。 |
|
severe_vulnerabilities |
数字 |
不 |
将要修复的严重漏洞总数。 |
|
moderate_vulnerabilities |
数字 |
不 |
要修复的中度漏洞总数。 |
|
malware_kits |
整数 |
不 |
如果应用解决方案,将不再用于攻击漏洞的恶意软件包总数。 |
|
利用 |
整数 |
不 |
如果应用该解决方案,则不能再用于利用漏洞的exploit总数。 |
|
vulnerabilities_with_malware_kit |
整数 |
不 |
已知恶意软件套件的漏洞总数,可以通过解决方案进行补救。 |
|
漏洞利用 |
整数 |
不 |
使用已发布的利用模块的漏洞总数,该解决方案将对该漏洞进行补救。 |
|
vulnerability_instances |
数字 |
不 |
解决方案修复的任何漏洞出现的总数。 |
|
riskscore |
双精度 |
不 |
通过执行补救措施而降低的风险评分。 |
|
pci_status |
文本 |
不 |
PCI符合情况;要么及格,要么不及格。 |
维度模型
sort_column fact_remediation_impact(计数)
在1.1.0版本中添加
粮食水平:具有最高替代级别的解决方案以及应用该解决方案将对报告的范围产生的影响。
事实类型:累积快照
描述:这一事实概括了应用所有补救措施的子集对报告范围的影响。这些标准可用于找到对报告范围有理想影响的解决方案,并可限于所有解决方案的子集。计算应用所有解决方案的聚合效果,并将其作为单个记录返回。这一事实将保证只返回一条记录。
参数
柱 |
数据类型 |
描述 |
|---|---|---|
计数 |
整数 |
解决方案的数量来确定其影响。排序和聚合在限制之前执行。 |
sort_column |
文本 |
用于对结果进行排序的列的名称和排序顺序。在限制结果之前,可以使用事实中的任何列对结果进行排序。可以使用传统的SQL片段对多个列进行排序(例如:'assets DESC, exploit DESC')。 |
柱
柱 |
数据类型 |
可空 |
描述 |
关联维度 |
|---|---|---|---|---|
解决方案 |
整数 |
不 |
所选解决方案的数量,并对其总结补救措施的影响(将小于或等于计数)。 |
|
资产 |
比基特 |
不 |
需要应用补救措施的资产总数。 |
|
漏洞 |
比基特 |
不 |
需要补救的漏洞总数。 |
|
critical_vulnerabilities |
比基特 |
不 |
要修复的关键漏洞总数。 |
|
severe_vulnerabilities |
比基特 |
不 |
将要修复的严重漏洞总数。 |
|
moderate_vulnerabilities |
比基特 |
不 |
要修复的中度漏洞总数。 |
|
malware_kits |
整数 |
不 |
如果所有选择的补救措施都被应用,将不再用于利用漏洞的恶意软件工具包的总数。 |
|
利用 |
整数 |
不 |
如果应用了所选的所有补救措施,将不再用于利用漏洞的exploit总数。 |
|
vulnerabilities_with_malware_kit |
整数 |
不 |
已知恶意软件工具包中要修复的漏洞数。 |
|
漏洞利用 |
整数 |
不 |
已知漏洞可被修复的漏洞数量。 |
|
vulnerability_instances |
比基特 |
不 |
通过选择的任何补救措施补救的任何漏洞出现的总数。 |
|
riskscore |
双精度 |
不 |
通过执行所有选定的补救措施而降低的风险评分。 |
|
pci_status |
文本 |
不 |
PCI符合情况;要么及格,要么不及格。 |
维度模型
事实扫描
粮食水平:扫描结果的摘要。
事实类型:累积快照
描述:fact_scan事实提供了每次扫描的汇总信息,在此期间对报告范围内的任何资产进行了扫描。对于每次扫描,事实表中都会有一条记录,其中包含汇总的结果。
柱
柱 |
数据类型 |
可空 |
描述 |
关联维度 |
|---|---|---|---|---|
扫描标识 |
比基特 |
不 |
扫描的标识符 |
dim_scan |
资产 |
比基特 |
不 |
扫描的资产数量 |
|
漏洞 |
比基特 |
不 |
在扫描中发现的所有漏洞的数量。 |
|
critical_vulnerabilities |
比基特 |
不 |
在扫描中发现的所有关键漏洞的数量。 |
|
severe_vulnerabilities |
比基特 |
不 |
扫描中发现的所有严重漏洞的数量。 |
|
moderate_vulnerabilities |
比基特 |
不 |
扫描中发现的所有中度漏洞的数量。 |
|
malware_kits |
整数 |
不 |
与扫描中发现的漏洞相关的恶意软件包的数量。 |
|
利用 |
整数 |
不 |
与扫描中发现的漏洞相关的exploit数量。 |
|
vulnerabilities_with_malware_kit |
整数 |
不 |
在扫描中发现的带有恶意软件工具包的漏洞数量。 |
|
漏洞利用 |
整数 |
不 |
在扫描中发现的漏洞数量。 |
|
vulnerability_instances |
比基特 |
不 |
扫描过程中发现的漏洞实例的数量。 |
|
riskscore |
双精度 |
不 |
扫描结果的风险评分 |
|
pci_status |
文本 |
不 |
PCI符合情况;要么及格,要么不及格。 |
维度模型
fact_site
粮食水平:站点当前状态的摘要。
事实类型:累积快照
描述:fact_site表为报表范围内的任何资产所属的每个站点提供了一个粒度级的摘要记录。考虑到报告配置中指定的任何漏洞过滤器,对于每个站点,都将在这个事实表中有一个汇总结果的记录。每个站点的摘要将显示每个资产最近扫描的累积信息,而不仅仅是该站点的最近扫描。
柱
柱 |
数据类型 |
可空 |
描述 |
关联维度 |
|---|---|---|---|---|
site_id |
比基特 |
不 |
站点的标识符。 |
dim_site |
资产 |
比基特 |
不 |
站点中的资产总数。 |
|
last_scan_id |
比基特 |
不 |
该站点最近一次扫描的标识符。 |
|
漏洞 |
比基特 |
不 |
在站点中的资产上发现的漏洞数。 |
|
critical_vulnerabilities |
比基特 |
不 |
在站点的资产中发现的关键漏洞的数量。 |
|
severe_vulnerabilities |
比基特 |
不 |
在站点中的资产上发现的严重漏洞数。 |
|
moderate_vulnerabilities |
比基特 |
不 |
在站点的资产中发现的中等漏洞的数量。 |
|
malware_kits |
整数 |
不 |
在该网站的资产中发现的与漏洞相关的恶意软件工具包的数量。 |
|
利用 |
整数 |
不 |
与站点中资产中发现的漏洞相关联的数字漏洞。 |
|
vulnerabilities_with_malware_kit |
整数 |
不 |
在网站资产中发现的恶意软件工具包的漏洞数量。 |
|
漏洞利用 |
整数 |
不 |
在站点中的资产上发现的具有漏洞工具包的漏洞数。 |
|
vulnerability_instances |
比基特 |
不 |
在站点中的资产上发现的漏洞实例的数量。 |
|
riskscore |
双精度 |
不 |
现场的风险评分。 |
|
pci_status |
文本 |
不 |
PCI符合情况;要么及格,要么不及格。 |
维度模型
startDate, endDate, dateInterval
在1.1.0版本中添加
粮食水平:某一特定日期的网站及其摘要信息。
事实类型:周期性的快照
描述:此事实表按日期提供站点上汇总值的定期快照。事实表有三个动态参数,用于细化返回的数据。从startDate开始,到endDate结束,对于每个dateInterval时间段,将返回报告范围内每个站点的汇总值。这将允许在可定制的时间间隔内对站点信息进行趋势分析。就图表而言,startDate表示范围内的最低值,endDate表示范围内的最大值,dateInterval表示范围轴上刻度的分离。如果一个站点在摘要日期之前不存在,它将没有该日期值的记录。一个站点的汇总值表示该站点在被汇总日期之前最近扫描的状态;因此,如果在下一次汇总时间间隔之前站点没有被扫描,站点的值将保持不变。
例如,fact_site_date(' 2013-01-01 ', ' 2014-01-01 ', INTERVAL ' 1 month ')将返回2013年每个月的每个站点的一行。
参数
柱 |
数据类型 |
描述 |
|---|---|---|
startDate可以 |
日期 |
第一次返回摘要的日期。 |
endDate |
日期 |
返回摘要的最后日期。 |
dateInterval |
时间间隔 |
返回摘要的开始日期和结束日期之间的时间间隔。 |
柱
柱 |
数据类型 |
可空 |
描述 |
关联维度 |
|---|---|---|---|---|
site_id |
比基特 |
不 |
站点的标识符。 |
dim_site |
资产 |
比基特 |
不 |
站点中的资产总数。 |
|
last_scan_id |
比基特 |
不 |
该站点最近一次扫描的标识符。 |
|
漏洞 |
比基特 |
不 |
在站点中的资产上发现的漏洞数。 |
|
critical_vulnerabilities |
比基特 |
不 |
在站点的资产中发现的关键漏洞的数量。 |
|
severe_vulnerabilities |
比基特 |
不 |
在站点中的资产上发现的严重漏洞数。 |
|
moderate_vulnerabilities |
比基特 |
不 |
在站点的资产中发现的中等漏洞的数量。 |
|
malware_kits |
整数 |
不 |
在该网站的资产中发现的与漏洞相关的恶意软件工具包的数量。 |
|
利用 |
整数 |
不 |
与站点中资产中发现的漏洞相关联的数字漏洞。 |
|
vulnerabilities_with_malware_kit |
整数 |
不 |
在网站资产中发现的恶意软件工具包的漏洞数量。 |
|
漏洞利用 |
整数 |
不 |
在站点中的资产上发现的具有漏洞工具包的漏洞数。 |
|
vulnerability_instances |
比基特 |
不 |
在站点中的资产上发现的漏洞实例的数量。 |
|
riskscore |
双精度 |
不 |
现场的风险评分。 |
|
pci_status |
文本 |
不 |
PCI符合情况;要么及格,要么不及格。 |
|
一天 |
日期 |
不 |
资产汇总的日期 |
维度模型
事实、地点、政策、日期
在1.3.0版本中添加
类型:周期性的快照
描述:此事实表按日期提供站点上汇总的策略值的定期快照。事实表有三个动态参数,用于细化返回的数据。从startDate开始,到endDate结束,对于每个dateInterval时间段,将返回报告范围内每个站点的汇总策略值。这将允许在可定制的时间间隔内对站点信息进行趋势分析。就图表而言,startDate表示范围内的最低值,endDate表示范围内的最大值,dateInterval表示范围轴上刻度的分离。如果一个站点在摘要日期之前不存在,它将没有该日期值的记录。一个地点的汇总政策值代表该地点在汇总日期之前的状态;因此,如果在下一次汇总时间间隔之前站点没有被扫描,站点的值将保持不变。
参数
柱 |
数据类型 |
可空 |
描述 |
|---|---|---|---|
startDate可以 |
日期 |
不 |
第一次返回摘要的日期。 |
endDate |
日期 |
不 |
将返回资产扫描结果的期间结束。如果晚于当前日期,则将替换为晚于当前日期的日期。 |
dateInterval |
interpa. |
不 |
返回摘要的开始日期和结束日期之间的时间间隔。 |
柱
柱 |
数据类型 |
可空 |
描述 |
关联维度 |
|---|---|---|---|---|
site_id |
比基特 |
是的 |
站点的唯一标识符。 |
dim_site |
一天 |
日期 |
不 |
汇总策略扫描结果快照的拍摄日期。 |
|
policy_id |
比基特 |
是的 |
范围内策略的唯一标识符。 |
dim_site |
范围 |
文本 |
是的 |
策略范围的标识符。自动可用的策略具有“内置”的作用域,而用户创建的策略具有“自定义”的作用域。 |
|
资产 |
整数 |
是的 |
报告范围内并与资产组关联的资产总数。 |
|
合规资产 |
整数 |
是的 |
与资产组关联且在通过至少一个策略规则测试时未失败的资产数。 |
|
noncompliant_assets |
整数 |
是的 |
与资产组关联且至少一次策略规则测试失败的资产数。 |
|
不适用的资产 |
整数 |
是的 |
与资产组相关联且至少没有通过一个策略规则测试的资产的数量。 |
|
rule_compliance |
数字 |
是的 |
符合或不适用的策略规则测试结果与规则测试结果总数的比率。 |
fact_tag
在1.2.0版本中添加
粮食水平:标记的当前摘要信息。
事实类型:积累快照
描述:fact_tag表为标记的汇总信息提供一个累积快照事实。所提供的摘要信息是基于与标记相关联的每个资产的最新扫描。如果一个标签没有可访问的资产,那么就会有一个计数为零的事实记录。只有与报告范围内的资产、站点或资产组相关联的标记才会出现在这个事实中。
柱
柱 |
数据类型 |
可空 |
描述 |
关联维度 |
|---|---|---|---|---|
tag_id. |
整数 |
不 |
标签的唯一标识符。 |
dim_tag |
资产 |
比基特 |
不 |
与标签关联的可访问资产的总数。如果标签在当前范围或成员中没有可访问的资产,则该值可以为零。 |
|
漏洞 |
比基特 |
不 |
每个资产上的漏洞计数之和。此值等于“严重漏洞”、“严重漏洞”和“中等漏洞”列的总和。 |
|
critical_vulnerabilities |
比基特 |
不 |
每个资产上的关键漏洞总数。 |
|
severe_vulnerabilities |
比基特 |
不 |
每个资产上严重漏洞的总数。 |
|
moderate_vulnerabilities |
比基特 |
不 |
每个资产上的中等漏洞总数。 |
|
malware_kits |
整数 |
不 |
每个资产的恶意软件套件计数的总和。 |
|
利用 |
整数 |
不 |
对每个资产的攻击次数的总和。 |
|
vulnerabilities_with_malware_kit |
整数 |
不 |
每项资产上带有恶意软件包的漏洞总数。 |
|
漏洞利用 |
整数 |
不 |
每个资产上的漏洞总数。 |
|
vulnerability_instances |
比基特 |
不 |
每个资产上的漏洞实例的总和。 |
|
riskscore |
双精度 |
不 |
每项资产的风险分数之和。 |
|
pci_status |
文本 |
不 |
PCI符合情况;传递或失败具有标签的资产。 |
fact_tag_date
在1.2.1版本中添加
类型:周期性的快照
描述:fact_tag_date表为标记随时间的扫描结果汇总提供周期性快照事实。每个事实记录表示扫描中的标签的摘要信息,其中与该标签关联的资产在当天或最近的前一天被完全且成功地扫描。
该函数以开始日期、结束日期和间隔作为参数。如果结束日期在当前日期之后,则它将被当前日期替换。快照将根据间隔值从开始日期到结束日期生成。如果在某一天没有扫描数据可以被发现,那么除了day和assets字段之外的所有字段的当天记录将会有一个空值。
参数
柱 |
数据类型 |
可空 |
描述 |
|---|---|---|---|
startDate可以 |
日期 |
不 |
第一次返回摘要的日期。 |
endDate |
日期 |
不 |
将在其中返回标记扫描结果的句号。如果它比当前日期晚,它将被当前日期替换。 |
dateInterval |
时间间隔 |
不 |
返回摘要的开始日期和结束日期之间的时间间隔。 |
柱
柱 |
数据类型 |
可空 |
描述 |
关联维度 |
|---|---|---|---|---|
tag_id. |
比基特 |
是的 |
标签的唯一标识符。 |
dim_tag |
一天 |
日期 |
不 |
摘要标记结果的日期。 |
|
资产 |
比基特 |
不 |
在报告范围内并与标记相关联的资产的总数。如果标记在当前范围或成员中没有资产,则该值可以为零。 |
|
漏洞 |
比基特 |
不 |
与标签相关的漏洞计数的总和。该值等于“critical_vulnerability”、“severe_vulnerability”和“moderate_vulnerability”列之和。 |
|
critical_vulnerabilities |
比基特 |
不 |
与标记关联的关键漏洞计数的总和。 |
|
severe_vulnerabilities |
比基特 |
不 |
与标签相关的严重漏洞的数量。 |
|
moderate_vulnerabilities |
比基特 |
不 |
与标签相关的中度漏洞计数的总和。 |
|
malware_kits |
整数 |
不 |
与该标签相关的恶意软件套件计数的总和。 |
|
利用 |
整数 |
不 |
与标签相关的攻击次数的总和。 |
|
vulnerabilities_with_malware_kit |
整数 |
不 |
与标签相关的恶意软件套件的漏洞总数。 |
|
漏洞利用 |
整数 |
不 |
与标签相关的利用漏洞计数的总和。 |
|
vulnerability_instances |
比基特 |
不 |
与标记关联的漏洞实例的总和。 |
|
riskscore |
双精度 |
不 |
与标签相关的风险评分之和。 |
|
pci_status |
文本 |
不 |
根据PCI标准,标签的符合性级别(“通过”或“失败”)。 |
fact_tag_policy_date.
在1.3.0版本中添加
类型:周期性的快照
描述:fact_tag_policy_date表为标记的汇总策略信息提供一个累积快照事实。所提供的汇总策略信息是基于对与标记关联的每个资产的最新扫描。如果一个标签没有可访问的资产,那么就会有一个计数为零的事实记录。只有与报告范围内的资产、站点或资产组相关联的标记才会出现在这个事实中。
参数
柱 |
数据类型 |
可空 |
描述 |
|---|---|---|---|
startDate可以 |
日期 |
不 |
第一次返回摘要的日期。 |
endDate |
日期 |
不 |
将返回资产扫描结果的期间结束。如果晚于当前日期,则将替换为晚于当前日期的日期。 |
dateInterval |
时间间隔 |
不 |
返回摘要的开始日期和结束日期之间的时间间隔。 |
柱
柱 |
数据类型 |
可空 |
描述 |
关联维度 |
|---|---|---|---|---|
tag_id. |
比基特 |
是的 |
标签的唯一标识符。 |
dim_tag |
一天 |
日期 |
不 |
汇总策略扫描结果快照的拍摄日期。 |
|
policy_id |
比基特 |
是的 |
范围内策略的唯一标识符。 |
dim_policy |
范围 |
文本 |
是的 |
策略范围的标识符。自动可用的策略具有“内置”的作用域,而用户创建的策略具有“自定义”的作用域。 |
|
资产 |
整数 |
是的 |
报告范围内并与资产组关联的资产总数。 |
|
合规资产 |
整数 |
是的 |
与资产组关联且在通过至少一个策略规则测试时未失败的资产数。 |
|
noncompliant_assets |
整数 |
是的 |
与资产组关联且至少一次策略规则测试失败的资产数。 |
|
不适用的资产 |
整数 |
是的 |
与资产组相关联且至少没有通过一个策略规则测试的资产的数量。 |
|
rule_compliance |
数字 |
是的 |
规则的PASS或NOT APPLICABLE结果占规则总数结果的比例。 |
fact_vulnerability
在1.1.0版本中添加
粮食水平:一个漏洞调查结果的总结。
事实类型:累积快照
描述:事实_漏洞表提供了报告范围内每个漏洞的汇总记录。对于每个漏洞,测量受漏洞影响的资产数量。总计中仅包括在最近一次扫描中发现且未应用任何异常的资产。
柱
柱 |
数据类型 |
可空 |
描述 |
关联维度 |
|---|---|---|---|---|
vulnerability_id |
整数 |
不 |
漏洞的标识符 |
dim_vulnerability |
affected_assets |
比基特 |
不 |
有漏洞的资产的数量。如果没有脆弱资产,这个数字可能为零。 |
|
vulnerability_instances |
比基特 |
不 |
跨所有资产的漏洞实例或出现的数量。 |
|
most_recently_discovered |
时间戳没有时区 |
不 |
发现报告范围内的任何资产易受该漏洞攻击的最近日期和时间。 |
维度模型